Micro Televion
and
how to build the most simplest TV transmitter

An Introduction
Television is considered as a device of delivering images and sounds. In this respect, television technology has reached to a "perfection". Media art using television would rely on such a "perfect" technology and would be satisfied with merely providing the "contents" to such a delivering device. However, it would be not an art. Art cannot remain the modernist "division of labor" of means and contents. As long as art shares the origin techne with technology, art should intervene into the technology itself. The artist must start with the process of making the technological system by him/herself. You could just set up the system after buying a ready-made set of television transmission and receiving. But if you dare to build a television transmitter by yourself, you will find a totally different vision of television and a new material of your art. The simplest transmitter is only a beginning.
In the mid-1980s, I was involved in "micro television" that was a television counterpart of "Mini FM" radiko. The easiest way was to use a RF module that was installed in every VCR and TV game machine at the time.
We used to have a slogan that every VCR could become a micro TV station. It was theoretically possible but in practice there were problems. Using a "antenna booster" or a hand-made booster circuit, the very week output signals (images and sound) of a RF module was led to an proper antenna. But there was a significant loss in the cable connection between the VCR and the booster.
So, I took out the module from the VCR and soldered it to the booster circuit. Meantime, I obtained RF module units both for VHF and UHF in Akihabara (radio market in Tokyo). Using an unit for UHF, I built UHF TV transmitters. Since there were many choices in frequencies of UHF, the micro UHF stations worked well.
Micro TV project in Shimokitazawa, Tokyo (1987) [RealMedia]
People of Radio Home Run tried to watch the program that was "broadcast" at the square of the Shimokitazawa train station. Although the "broadcasting" was not so successful (too many snowy images and noises), the square became a temporarily convivial space by the "belief" that "we were broadcast." It showed how mysterious the wireless imagination is.
With the people of PARC (1993) [RealMedia]
In the late 80s, I mastered the boosting method to use RF module and tested a mobile version of the UHF transmitter outside. It worked very well. Also, we enjoyed transmitting as a radioparty.
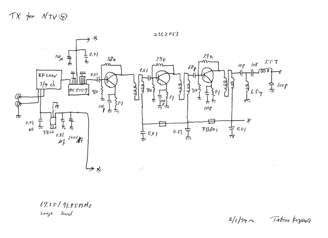
In 1994, Hank Bull and I had a NTV (non TV or net TV) project by using this method at Western Front in Vancouver. The Canadian plan of the TV channel starts from 55.25 MHz(ch.2) and the channel 3 (61.25 MHz) and 4 (67.25 MHz) that the ready-made VHF RF module for the American plan can select were open. It was a two week project to operate a micro television station at Western Front. It actually worked very well in 2 km radius. See the schematic (jpg) of the transmitter that I designed and used.
Micro TV transmitter workshop (1994) [RealMedia/no sound]
NTV Project (1994)
However, this type of attempts of micro television didn't continue so long. This was the difference from micro radio. Why? I think this has a lot to do with our habitual attitude to the video images. Even those who could be tolerant to "low quality" sounds was unable to keep watching snowy images of micro television. Few audience were interested in them as a video art or a television art, though.
The situation has changed now. Given the "perfect" technology of video manipulation and video synthesizing, "imperfect" and "immature" images of video are no more what they meant. Just as "lowtech" is no more the antonym of "high technology", "low" images would be more viable than "high" images in creative expression.
Using computer, it is easy to make "low" images. But it is not so easy to create "low" images as a happening or by accident. Lowtech could do it more easily. Because lowtech always remains in the more or less relationship with our body that is the domain of accidents.
The micro television system that consists of RF module and the booster is perfect except the limited radius of service area. The RF module is technologically a complete and inexpensive transmitter. But it has only two selections of the channel. Given the technological perfection, it is very difficult to diverse the system.
How can we build a simple television transmitter by ourselves? One of the most delicate and therefore complicated sections of TV transmitter is for synthesizing the signals of images and the sounds. But if you give up the sounds, the circuit become far more simpler. If so, why don't you do it? Silent television is now more cooler, isn't it? So, as a first step, I will talk about how to build a television transmitter without sound and look for unique usage of it. Then I will go to an atempt to build a television transmitter with sound as simple as possible.
How to build the most simplest TV transmitter?
home of Polymorphous Space
How to build a transmitter
Contact to Tetsuo Kogawa (mail: polym@translocal.jp)